午评:创业板指半日涨0.82% 源杰科技超越茅台成A股新“股王”
股票

午评:创业板指半日涨0.82% 源杰科技超越茅台成A股新“股王”

网易财经4月17日讯 三大指数涨跌不一,沪指弱势震荡,创业板指盘中涨超1%,源杰科技股价超越茅台成A股新“股王”。创业板指黄白线分化明显,算力硬件权重股表现强势。沪深两市半日成交额1.58万亿,较上个交易日放量1186亿。盘面上热点较为杂乱,全市场超3700只个股下跌。从板块来看,CPO概念反复活跃,剑桥科技、光迅科技涨停创历史新高,华盛昌5天3板。算力租赁概念再度走强,利通电子4天3板续创历史......

源杰科技股价超越茅台 成A股新“股王”
股票

源杰科技股价超越茅台 成A股新“股王”

网易财经4月17日讯 源杰科技持续走强,股价突破1410元,盘中超越贵州茅台成为A股新“股王”。2024年9月24日至今,贵州茅台累计涨幅近20%,源杰科技累计涨幅近1500%。源杰科技股价从2025年3月28日收盘的109.1元/股,截止发稿,一年内股价涨了近14倍。消息面上,贵州茅台2025年实现营业收入1688.38亿元,同比下降1.21%;归母净利润823.2亿元,同比下降4.53%;基本......

上市以来首次年度业绩下滑 贵州茅台低开超4%
股票

上市以来首次年度业绩下滑 贵州茅台低开超4%

4月17日,早盘白酒龙头贵州茅台低开超4%,触及1400元整数关口。消息面上,贵州茅台2025年实现营业收入1688.38亿元,同比下降1.21%;归母净利润823.2亿元,同比下降4.53%;基本每股收益65.66元。数据显示,2025年是贵州茅台上市以来首次出现营收、净利润双双下滑。

加速进化完成近10亿元融资
股票

加速进化完成近10亿元融资

本轮融资由北京高精尖产业基金、京国盛基金与华控基金联合领投。具身智能公司加速进化(Booster)于近日完成近10亿元融资。本轮融资由北京高精尖产业基金、京国盛基金与华控基金联合领投,联想之星、国海创新资本、交银资本参与投资,深创投、源码资本、英诺基金、IDG等老股东持续加码。义柏资本连续6轮担任独家财务顾问,并将持续长期为公司提供财务顾问服务。截至目前,加速进化的Booster K1累计出货超千......

台州金浦母基金完成备案
股票

台州金浦母基金完成备案

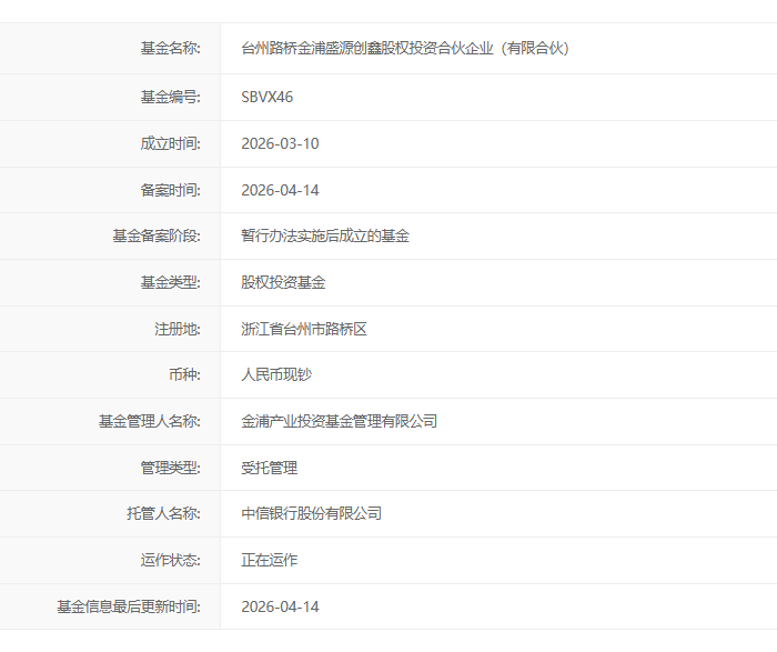
原标题:台州金浦母基金完成备案投资界(ID:pedaily2012)4月17日消息,近日,台州路桥金浦盛源创鑫股权投资合伙企业(有限合伙)(以下简称“台州金浦母基金”)完成中基协登记备案和子基金管理机构征集工作。台州金浦母基金总规模为20.02亿元。定位为市场化、专业化创新股权投资母基金,立足台州市路桥区产业根基与金浦投资专业投资能力,坚持国家战略导向、产业赋能导向、长期价值导向,以资本为纽带链接......

国家中医药管理局原局长于文明被提起公诉
股票

国家中医药管理局原局长于文明被提起公诉

新京报讯 据最高检消息,国家中医药管理局原局长于文明涉嫌受贿一案,由国家监察委员会调查终结,移送检察机关审查起诉。最高人民检察院依法以涉嫌受贿罪对于文明作出逮捕决定,并指定由天津市人民检察院第一分院审查起诉。近日,天津市人民检察院第一分院已向天津市第一中级人民法院提起公诉。检察机关在审查起诉阶段,依法告知了被告人于文明享有的诉讼权利,并讯问了被告人,听取了辩护人的意见。检察机关起诉指控:被告人于文......

商用车AI解决方案龙头两年股价大涨200%  锐明技术前三大股东减持近4.6亿元后赴港上市
股票

商用车AI解决方案龙头两年股价大涨200% 锐明技术前三大股东减持近4.6亿元后赴港上市

4月2日,全球商用车AI解决方案龙头企业锐明技术更新了港股招股书,这也是自2025年9月30日以来锐明技术第二次递交招股书。此次IPO,锐明技术计划募资用于研发AI大模型,以便更好地为公司AI商用车解决方案赋能。在AI与辅助驾驶融合更加紧密的背景下,锐明技术海外业务拓展十分顺利,在海外业务收入大增带动下,锐明技术盈利能力大幅提升。在盈利上升及资本市场回暖的背景下,锐明技术在资本市场表现较为出色,自......

快讯:创指盘中涨超1%再创近11年新高 CPO板块持续拉升
股票

快讯:创指盘中涨超1%再创近11年新高 CPO板块持续拉升

4月17日消息,指数早盘走势分化,沪指震荡调整,创指一度涨超1%再创近11年新高,深成指持续走强。板块方面,CPO板块持续拉升,剑桥科技涨停创历史新高,中际旭创涨超4%再创历史新高,光库科技、仕佳光子涨超11%续创历史新高;半导体板块迅速拉升,欧莱新材20cm涨停;电池产业链反复活跃,圣阳股份7连板;下跌方面,旅游及酒店板块集体走低,桂林旅游领跌;医药板块集体下挫,诺思兰德领跌;猪肉板块走弱,龙大......

OpenAI推出生命科学模型GPT-Rosalind
股票

OpenAI推出生命科学模型GPT-Rosalind

4月17日消息,OpenAI周三宣布推出面向生命科学研究的系列AI模型,首个模型命名为GPT-Rosalind,旨在辅助生物化学、基因组学等领域的科研推理工作,加速药物发现与转化医学进程。该模型以英国化学家罗莎琳德·富兰克林命名,其研究成果曾助力揭示DNA双螺旋结构。OpenAI生命科学研究负责人Joy Jiao表示,GPT-Rosalind专注于提升生命科学基础推理能力,目标并非取代科学家,而是......